Вы здесь
Почвообработка. Обсуждение особенности конструкции разных орудий.. Страница 178 из 181
Самые популярные темы
- ЭВОЛЮЦИЯ ДИСКАТОРА
- Плуги серии ПСК, ПБС, ПС, обсуждения, замечания, новаторские идеи.
- ПЛУГ ПЛН-3.35!!!!!
- Глубокорыхлители!Кто использует эти орудия то вам сюда.
- Почвообработка. Обсуждение особенности конструкции разных орудий.
- Модернизация дисковых борон и дискаторов.
- Эволюция культиватора
- выбор дискатора
- ОБРАБОТКА ЗЕМЕЛЬ ПОД ЗЕРНОВЫЕ И ПРОПАШНЫЕ КУЛЬТУРЫ
- Оборотный плуг

Не Аринин это придумал. Прежде чем умничать, попробовал бы сам пробить разрешение на изготовление и продажу орудия. Даже Радогост без этого не обходится.
А вот это ничуть не шутка.
Ездят Марья Ивановна. Ещё как ездят.
Можно подумать, ты сам, чтобы съездить в магазин предварительно отцепляешь орудие и оставляешь его возле дороги.
Никогда не поверю.
Попахивает американской пропагандой о Сороса. Явно АлександрНик от них курс подготовки прошел.
Умных выманили в Америку, а оставшемуся быдлу ничего кроме лопаты доверять нельзя.
И читать таким не надо. Максимум две строчки, чтобы мозги не напрягать.
Вон евгений.пенза даже обиделся, что ему пришлось читать больше.
На полном серьёзе сопромат приравнивают к инструкции по технике безопасности.
И это тоже не шутка. Никто вон даже не улыбнулся.
Это что-то новое в дорожном законодательстве!.
Но как всегда Аринин брякнул в колокола, в святцы не глянув. Привычка халтурить сказывается.
Причем инструкция по технике безопасности и инструкция по эксплуатации, это разные вещи, одна говорит куда не стоит лезть, другая как пользоваться. Ты уже не знаешь что придумать, начинаешь всякую чушь сочинять в одну кучу.
Живой пример Россельмаш продал в колхоз трактор. Тракторист полез ремонтировать. Приехал представитель и снял трактор с гарантийного обслуживания и колхоз вынужден пяти миллионный трактор ремонтировать за свой счет.
Такая же система и с комбайнами, не говоря о легковых машинах.
За импортную поставку я и не говорю ровно такая же система
А вот если вами приведенная органицация не занимается постгарантийным обслуживанием это говорит о не исполнении ваших прямых обязаностей по условию договора об гарантийном обслуживании. Как я выше писал циганский подход
Да и тракторист не обязан каждую смену тянуть гайки и регулировать зазоры в подшипниках. Это говорит о не соответствии агрегата тех условиям. У агрегата есть ресурс наработки который он должен отработать без нареканий Тракторист осмотрел , провел смазку если подошли сроки и даже если они там предусмотрены ( есть не обслуживаемые узлы с огромными сроками эксплуатации), все. Обслужил и вперед.
У меня начинает складываться мнение о завышенной самооценке. Вы это кому адресовали????
К Соросу конечно. Я остался, если что.
Своим потенциальным покупателям.
Аринин делает технику для оставшегося быдла (с его же слов)
Вот с этих позиций - всё становится понятно.
Всё встаёт на свои места...
Кто разбирается в орудиях - тот орудие от Аринина не купит.
А те кто повёлся... Тот в глазах Аринина - быдло.
Можно с гарантией - слать лесом.
Куда конь с копытом, туда и рак с клешней?
Мы изготовлением и продажей тракторов не занимаемся. Что там в договорах и руководстве пишет Россельмаш не знаю.
Это к Фадеевичу или Лигачеву. У них и трактор есть. Пусть поделятся, кто им там приезжает гайки на тракторе крутить.
Мы тут за орудия говорим.
Так будте добры отправьте эти выражение к Соросу, Ваша писанина не направлена к Соросу.
Ничего не понял и Всё переврал. У Аринина нет и не было покупателей, даже потенциальных.
Техника делается для культурного и грамотного фермера и тракториста. И для них же пишется руководство по эксплуатации.
А вот кто не в состоянии это руководство прочитать… Даже и не пытался. Вот тому больше чем лом и лопата ничего доверять нельзя. Как хотите их называйте, но это уже и не тракторист, и не механизатор.
А вы почитайте руководство по эксплуатации. Хотя бы попробуйте.
Ну! Чуть дальше, чем две строчки!
Там всё подробно разжёвано.
Обычная дешевая уловка производителя: обставить свои же гарантийные обязательства многочисленными юридическими "капканами", которые с технической точки зрения ничтожны, но позволяют с темы соскочить.
Будте добры выложите инструкцию к спорному агрегату для ознакомления . И интересно договор купли продажи посмотреть. Неужели там ничего не прописано о сроках и видах эксплуатации агрегата? Я не думаю что предназначение агрегата "" Заточка карандашей""

Есть ли сертификаты соответствия. Или это просто кусок железа из гаража по баслословным ценам?
Вот...
Твои же слова...
Что умных в Америку выманили... а осталось одно быдло.
Где же ты найдёшь культурного и грамотного фермера, среди быдла...?
Стало быть - твоя техника для быдла.
Зафиксируем этот момент.
Тебя за язык никто не тянул.
Про быдло - сам ляпнул.
Ждём инструкцию от Аринина, на его Агрегат!
С разделом безопасности, быдлу тракториста, ознакомит инженер по технике безопасности, и под роспись ознакомит, что бы туда руки не совал, там не трогал, это не делал. А с инструкциинструкцией по эксплуатации у же ознокомит инженер по эксплуатации, и так же скажет, это не трогать, это не крутить.
Антон Фадеевич Делайте ссылки правильно!
Это не Аринин, Это всё утверждает Александр!
а китайцы могут приехать в хозяйство с блокнотом и ручкой и записать все недочеты, отправить на завод их и учесть при изготовлении новых изделий, и все что отвалилось, покосилось тоже устранить за свой чет и по гарантии, а у вас гарантия только на бумаге, вот он ехал и рысачил по асфальту и у него отвалилось колесо ибо попало в ямку на обочине, вот смешно читать ей богу, а если бы он ездил не по асфальту, а по полям и что у него в очередной балке оба колеса отвалились бы так? это просто экономия вот и все..
Ссылку я сделал правильно.
Твои же слова, чего на другого сваливать, сам же нас называешь неучами и быдлом,.
Купил я трактор, а Аринин мне ограничитель мощности вкарячил, и купил у аринена орудие, а трактор не тянет его, а он мне читай инструкцию и технику безопасности, и сколько времени ее читать, что бы трактор потянул и арининский агрегат заработал?
По поводу "быдло" вылетело от Николай Арин, Неужели вас всех красит обзывать людей. Я сделал замечание. Выбирайте выражения.
Перестань называть людей быдлом и приписывать оскорбительные слова другим
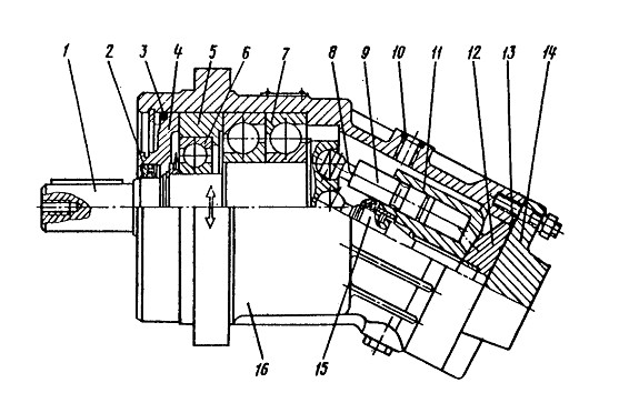
К Вопросу о 3х подшипниковой ступице... На гидромоторах широко применяются, вот чертежи на любой вкус, есть даже и 4 подшипниковые, я думаю врядли бы ставили подшипник вместо дистанционной втулки. Втулка дешевле на порядок. Стало быть 3-4 подшипнтковая конструкция ступицы повышает нагрузочную способность узла. Это не субъективное мнение, это чертежи реальных агрегатов. Ступица из 3 подшипников не противоречит механике и работоспособна.
Так вот откуда ноги растут. А мы думали собственное изобретение
Спасибо.
Абсолютно новых, пионерских изобретений практически не бывает. Обязательно будет какой-нибудь прототип или аналог. Даже если этого аналога человек в глаза не видел, потом, через десять лет ему этот аналог найдут.
Но, существенные отличия в изобретении есть обязательно. И в этих конструктивных решениях они тоже присутствуют.
тут нее от образования зависит, а от самого человека если он себя считает пупком земли и думает что он выше всех остальных, то он так себя и будет вести налево на право выкрикивая что все вокруг быдло, холуи и холопы, один он хороший парень.
зачем из людей делать дураков, есть такие трактористы которые без образования, но имеют такой жизненный опыт, что господину Аринину он и не снился, но для него все они быдло и неучи которые читать не умеют, а то что там в инструкции написано один фиг не спасет от того что это поделка развалится из-за экономии на материалах, почему в СССР сделали плуг, борону, дискатор, сцепку и многое многое другое и эти вещи уже на протяжении полувека работает, ваша поделка выехала с завода и через месяц там отвалилось колесо так как попало в ямку на обочине и отвалилось, что вам мешает сделать запас прочности больше??
С больной головы на здоровую.
Кто делает? Что же вы всё переворачиваете. Опять повторять?
Я эти руководства писал для трактористов в первую очередь. В ожидании, что люди прочитают, поймут и будут руководствоваться.
А тут вона как. «не читал и читать не буду». Кто это сказал? Есть такие трактористы?
Остальное комментировать вижу бесполезно. Вы сперва с Тойотой договоритесь. А то что за фигня. Только из дома выехал, 500 метров проехал и из-за вшивого бордюра отвалилось сразу два колеса. Никакого запаса прочности.
Что им мешает сделать запас прочности больше?
Николай Аринин, если Вы не прекратите хамить форумчанам - последует очередная блокировка. В этот раз на три недели
чем вам поможет ваше руководство если вы купили ступицы не под тот вес и диски из тонкого металла и поставили их на свою поделку и все это развалилось на первой кочке, а теперь вопрос ваша поделка срок службы какой согласно вашего руководства имеет??
я не знаю кто вам это сказал, это вы пишите что там кто-то говорит или говорил что читать не буду, но если он это прочтет, то я уверен на 100%, что его это просто не спасет ибо поделка сделана впритык без запаса прочности лишь бы выехала за забор завода или что у вас там цех по изготовлению или гараж и на этом вы про нее забыли раз и на всегда, а покупатель новый хозяин пусть мучается это теперь его новая головная боль...
а причем тут тойота??
или вы про тот случай?
то есть вы хотите сказать что ваше изделие, поделку ударили в бордюр так?
а если представить что ваша поделка попала в яму и развалилась, мы можем взять тойоту и прокатиться по обочине я вас уверяю что там ни одно колесо не отвалится даже подвеска останется цела, вы если взялись что-то сравнивать, то делайте это объективно, а не как вы пишете переворачивайте с больной на здоровую голову..
На мой то вопрос ответишь, или читать инструкцию, по технике безопасности, как быть с трактором и твоим агрегатом?
Многие люди берут технику, подписывают договора и не обращают на некоторые пункты договоров. Этим и пользуются недобросовестные производители.
Потом очень тяжело доказывать свою правоту, нужно пройти круги ада с предоставлением экспертиз. Придраться к любой экспертизе можно и так делают , оспаривают. Суды длятся годами и еще не факт что все это оспорится в вашу пользу с замысловатыми договорами и инструкциями к ним.
Поэтому на это никто не идет.
По ФЗ "О защите прав потребителей" даже не имея гарантии можно в течении двух лет оспаривать недостатки сложных орудий.