Вы здесь
Самодельные кабины тракторов.. Часть 2. Страница 163 из 164
Самые популярные темы
- Самодельные минитракторы. Часть 4
- самодельные минитракторы
- Трактор "Бизон" - вопросы, ответы, обсуждение
- Изготовление с-х техники для фермеров в домашних условиях
- Самодельные минитракторы. Часть 5
- Сварочные аппараты, расходники и технология сварки. Часть 2
- миниэксковатор . Часть 2
- Самодельные минитракторы - 2. Продолжение
- самодельные приспособления для обработки металов (токарные, фрезерные станки и др)
- Самодельная телега

Верно подмечено.
Вот так тогда.
И свечи можно через реле туда же где стартер и втягивающее.
С замка (зажигани) напрямую на свечи и на стартер, там клеммы соответствующие.
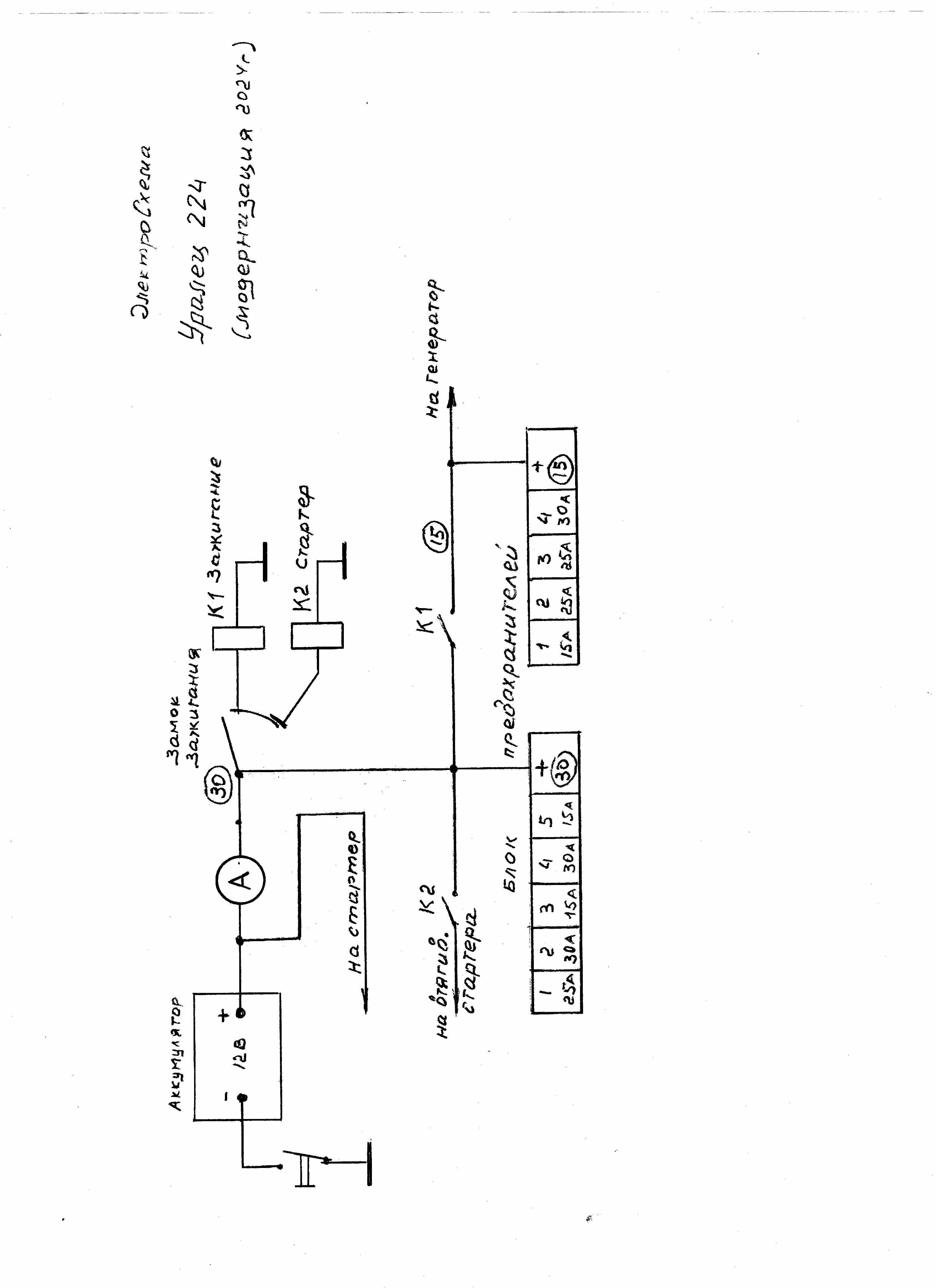
Не надо усложнять схему, штатно 3 предохранителя и годами работает, на УАЗе 452 469 так же 3 предохранителЯ и работает .
Да Вы правы Стартер со втягивающим реле соединен с АКК. Так и в УАЗе. Внимательнее рисовать требуется.
Свечи накаливания в цепи блока предохранителей (30) после амперметра для контроля исправности.
Замок зажигания ВАЗ 2110.
В сколько берут ампер свечи?
Я по вольтметру вижу работают свечи или нет, когда работают на вольт падение..
По сути амперметр и не нужен, важнее вольтметр, у меня дошла таблетка на генераторе, на мтз, амперметр показывает зарядку и все, а вольтметр 18 вольт, так что акум закипел.
Так что амперметр не показатель.
По Амперметру могу увидеть потребление любого потребителя, поэтому установлены и А (амперметр), и V(вольтметр)
Идеально когда у каждого потребителя свой предохранитель с учетом его номинального и пускового тока.
Гораздо хуже, когда группа потребителей сидит на одном предохранителе, здесь трудно говорить о корректной защите,
и почему при проблеме в одной какой то одной цепи должна отключиться целая группа потребителей? Мало удобства. Это решение давно прошедших времен.
У меня на тракторе 9 предохранителей, это далеко еще не идеально, но уже гораздо удобнее и надежнее.
По вашей схеме единственный потребитель, и это аккумулятор.
Так что вы ничего не увидите .
Тоесть только свечи накала будете контролировать при запуске трактора, но надо учитывать что 1 свеча потребляет (точно не вспомню от 10 до 20;ампер) и соответственно надо на этот ток прибор.
Свеча потребляет 12А
Информативнее когда есть и то и другое. Сейчас зарядный ток 6А. Можно увидеть момент полной зарядки.
Запуск двигателя (работа стартера)- потребление 10А. Стартеры редукторные - потребление гораздо меньше чем было в безредукторных.
Фото сложно было сделать одной рукой, вторая рука на замке зажигания. Размазанно получалось..
При холостых оборотах двигателя нет зарядки от генератора и корректно идет контроль тока потребителей Амперметром. Так лампы ближнего света потребляют около 8-10А. Слишком малые нагрузки конечно слабо регистрируются амперметром. На все 4 светодиодные светильника технологического освещения, включенные одновременно, амперметр слабо отреагировал. Значит есть смысл пользоваться светодиодниками.
Амперметру можно доверять . Проверен. Показания даже чуть -чуть завышает. реагирует на 0,4-0,5А.
Показания вольтметра точны.
При моих нагрузках схема полностью устраивает и в первоначальном варианте и в откорректированной.
Наверно все же не стартера а втягивающего.
При чём тут втягивающий, щетки где стоят. У втягивающего одно задание втягивать пятачки и замыкать два болта ))))) апмеры получается кто забирает естественно тот что крутится ха ха
Мощность электроприбора это ток умноженный на вольты. 10 ампер умножаем на 12 вольт и получаем 120 ватт. Таких стартеров не бывает. Ну может если только на мопеде. Даже на жигулях стартер 1,2 киловатт и потребляет ток 100 ампер, а в момент страгивания двигателя - ещё больше.
Хоть бы с основами электротехники ознакомились, прежде чем умничать. Ха ха.
Да, вероятнее всего втягивающее. Вспоминаю, я ведь точно проводку от Акк по двигателю до стартера не задевал. Наверняка осталась на стартер. Проверю, уточню, спасибо. Чтобы у меня и у всех была ясность.
Зачем тогда пусковые токи на аккуме 500-900 ампер?
Чего? Работа стартера берет 10ампер? Вы ничего не путаете в определениях? Работа стартера происходит без прохождения тока через амперметр. Максимум что может показать амперметр-потребление тока втягивающим реле стартера. А стартер при 2,7 кВт и 12 вольт в системе столько ампер потребляет что провода в амперметре сгорят.
Однако Вы любитель пошуметь и эмоций излишних нагнать. А при чем здесь 2,7кВт? И почему должны сгореть какие-то "провода" в амперметре а не шунт?
По более ранней переписке ведь видно - без шума разобрались. Корректное замечание Valana - корректное согласие.
"Valan 33 пишет:
Наверно все же не стартера а втягивающего
Да, вероятнее всего втягивающее. Вспоминаю, я ведь точно проводку от Акк по двигателю до стартера не задевал. Наверняка осталась на стартер. Проверю, уточню, спасибо. Чтобы у меня и у всех была ясность."
Спасибо Valan за замечание. Привожу откорректированную схему. Фактически так было и выполнено на тракторе при модернизации электросхемы. К стартеру и не добирался - там нужно было предварительно гидронасос снимать. Просто отходящие на замок зажигания 2 провода использовал. В начертании схемы допустил ошибку.
Втягивающее реле по показаниям амперметра потребляет ток 10 А. Сейчас могу контролировать фактическое потребление электро всеми потребителями кроме стартера.
С уважением к принявшим участие в обсуждении.
Ещё раз напишу , вы ничего не контролируете амперметром кроме заряда акб и при запуску мотора втягивающее и свечи накала.
" Инструмент" для остекления с резиновым профилем под клин
Установка клина в профиль - Нажим по направлению паза и некоторое качание вправо влево, раздвигающее паз.
Возможно применение силиконовой смазки.
Результат. В углах рамки под стекло желательно иметь радиус 50 и более мм. При радиусе около 35 мм уже появляются "гофры" на резиновом профиле и излишняя жесткость фиксации стекла.
Изготавливал рамки окон и дверей в следующей последовательности.
1.Рамки из профильной трубы 20х20. 2.Приварка полос металла толщина 0,6-0,8мм. Ширина - Снаружи профиля только для перекрытия зазора с каркасом кабины , внутри 25мм от профтрубы 20х20. Радиусные переходы сразу на верхней и нижней (более короткие) полосах.
3 Изготовителю триплекса предоставляю рамки и образец резинового профиля для замеров. По заказу он изготавливает стекла- гарантирует, что размер стекол обеспечит нормальное остекление. Изготовитель предлагает собственную сборку , уверяя что клиент не застеклит качественно и не сломав стекла, дабы они стеклят втроем.
4. Шпатлевка стыков, грунтовка, финишная окраска оконных рамок.
5. Сборка, остекление - работа в одиночку без помощников- все выполнимо.
Вы не заметили, что я указал ток потребления ближнего света фар?
На малых оборотах двигателя (холостой ход) отсутствует зарядный ток генератора. Я реально вижу ток потребление любого подключенного для контроля потребителя. Факт есть факт и теории не противоречит. Слишком малой мощности потребителя конечно не измеришь -низковата чувствительность, дискретность показаний амперметра. и погрешность измерения. А там где потребление в единицы и десятки ампер все нормально. Я понимаю Вы можете ссылаться на то что генератор все равно работает, что- то выдает 3-5-8 В - есть какая то составляющая в общей бортовой сети по теории ТОЭ. Но это только определенный процент погрешности. Погрешность измерения в данном случае мне особо не важна. Но информативность для меня здесь выше - это меня устраивает.
Так походу у вас генератор полудохлый раз такое напряжение выдает.
У меня киловатные стоят, на холостых 12,8-13,2 вылают
А если поставить электронный амперметр?