Вы здесь
Самодельные кабины тракторов.. Часть 2. Страница 162 из 164
Самые популярные темы
- Самодельные минитракторы. Часть 4
- самодельные минитракторы
- Трактор "Бизон" - вопросы, ответы, обсуждение
- Изготовление с-х техники для фермеров в домашних условиях
- Самодельные минитракторы. Часть 5
- Сварочные аппараты, расходники и технология сварки. Часть 2
- миниэксковатор . Часть 2
- Самодельные минитракторы - 2. Продолжение
- самодельные приспособления для обработки металов (токарные, фрезерные станки и др)
- Самодельная телега

Я за вас очень рад. Но вообще это называется: мы сами создаём себе проблемы, чтобы с героизмом их преодолевать.
Ну почему же создаем проблемы?
Я приобрел оптимальный для своих задач минитрактор с оптимальной для меня ценой. Он полноприводный, с КУНом, с гидравликой на руле, с блокировкой Дифа. Я на нем не зарабатываю, решаю периодически нужные мне задачи не обращаясь на сторону, у меня другой бизнес.
Но вот в тракторе от производителя были проблемы. Это непонятный каркас- вроде бы кабины, это до глупости упрощенная электрика, это абсолютно неинформативный приборный щиток -только указатель температуры.
Для улучшения условий работы на нем - на досуге, честно в собственное удовольствие сделал кабину - защитился от непогоды, смонтировал нормальную релейную эл. схему с защитой раздельно всех основных эл. цепей, с привычными подрулевыми переключателями. смонтировал технологическое освещение без наличия слепых зон, создал приборный щиток с информацией по температуре, давлению, напряжению бортовой сети, токовому потреблению по любому потребителю.
Проблем вроде не создавал себе, получил удовольствие и от процесса работы и от результата.
Чего и всем желаю. С уважением к Вашему творчеству.
Стойки не толстые ?Обзору не мешают?
Да стоики мощные. 80х40 профтруба. В некоторых местах 60х40 и 40х40. Но они были от производителя. Как мощный каркас для нагрузок КУНа. Только несколько улучшал геометрию.
Обзор? Видимо привык, не замечаю. Но , вспоминаю, голову порой приходится смещать - наверное поэтому.
Ну что погнали проводку.
Дайте распиновка этого переключателя
4клеммная колодка на повороты-там три пина. 6 клеммная-в ней пять пинов-свет и сигнал. Прозвонить назначение каждого пина-дело пяти минут контрольной или пищалкой.
Я чёт не понял как свет подключается а сигнал и поворотники я понял.
На дальний два плюса идёт. Один через замок при влюченном свете. Другой плюс постоянный, чтобы дальним моргнуть можно было.
Это иногда вводит в некоторое заблуждение
Не было мыслей использовать монтажный блок? Например самый распространенный, Вазовский?
Я себе ставил, правда заморочек при установке больше.
Вы выполняете эл. проводку по конкретной схеме?
Желательно на гитару пустить ток управления силовыми реле. При включении центрального переключатель на гитару приходит ток-в зависимости от положения переключателя он пойдет на Ближний или дальний свет. Еще один плюс подходит для функции мигания дальним светом. Почему желательно ставить через реле? Контакты переключателей слабенькие и могут подгорать особенно если фары галогенки. Поэтому релюшки раз грузят контакты гитары пустив только ток управления релюшками.
Реле буду ставить на все обязательно и предохранители тоже на все.
Вот сегодня маленько подобрал сопли в верхней полки
Нет сам все придумывал.
Купил на разборе камазовский ,разобрал его и беру отдельные элементы.
Спасибо. Это полезная информация.
Предусмотрены раздельные блоки предохранителей- для цепей при включенном зажигании и для цепей при выключенном зажигании?
Маленько. В основном все будет работать при выключенном зажигание. Разве что поворотники и свет сделаю от зажигания. Не вижу смысла особо запариваться по этому поводу, сел в трактор нажал массу запустил двигатель работаешь, заглушил двигатель выключил массу вылез из трактора, много лет уже так работаю
Все разобрался. Спасибо
Смущают клеммники ( соединители с оранж. флажками) на нижнем фото. Если они в силовых цепях, то боюсь могут подвести. Напряжение и сетевое (220В) нормально держат, а вот токи в бортовой сети транспорта пожалуй великоваты для них.
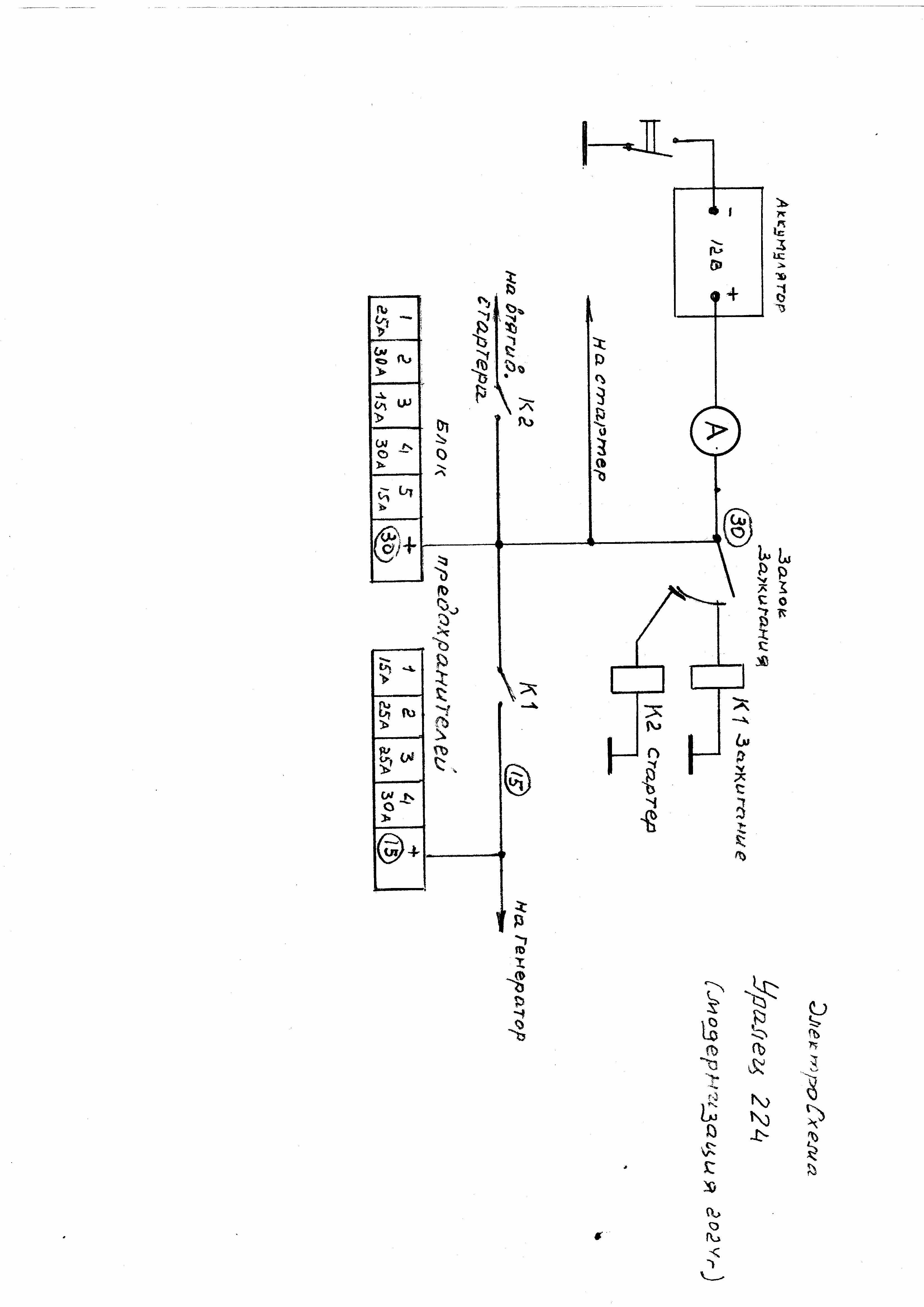
Обычная схема- при включенном зажигании работает и генератор, соответственно могут работать и более мощные потребители, не разряжая Акк. При выключенном зажигании невозможно включить мощные потребители даже случайно и разрядить Акк. При неисправностях и невозможности завести транспорт ДОЛЖНЫ при выключенном зажигании гореть габаритные огни, аварийка, звуковой сигнал ( бывает удобно прикуриватель, зарядка для тел. и т д.) от Акк. Решается достаточно просто. Прикрепляю мой фрагмент схемы. А там уже определяешься что куда подключить.
На схемах авто это обычно клеммы 15 и 30.
Клемма 30 - работа только от Аккумулятора при неработающем двигателе.
Клемма 15 - работа при работающем двигателе от Аккумулятора с генератором.
Брось ты, 32А×28В=896 Вт. Начнет моросить гильзы поставлю.
Короче я посчитал ели 600вт потребление, ито с натягом. Так что выдержат.
Амперметр там в схеме какой?
Амперметр УАЗовский. Целиком щиток с измененной комплектацией адаптирован. И Амперметр и вольтметр.
Ну и как он включен?
По вашей схеме на стартер?
Судя по схеме в разрыв силового провода на акб.
Мне кажется ошибочка в схеме закралась.
Наверное вот так будет правильней.
Как свечи накала включены? Или их нет?
И втягивающее тоже напрямую надо мимо амперметра.