На юмза экса ,по совету с Форума , поставил шайбы с маленькими дырочками на гидроцилиндры поворота. Стрела стала поворачивать помедленней. С рулевым гидроцилиндром прокатит такой финт? Или дозатор испортиться?
На озоне есть дозатор на 50.
На юмза экса ,по совету с Форума , поставил шайбы с маленькими дырочками на гидроцилиндры поворота. Стрела стала поворачивать помедленней. С рулевым гидроцилиндром прокатит такой финт? Или дозатор испортиться?
На озоне есть дозатор на 50.
Приветствую.
С рулевым не прокатит.
А какая схема, тоесть от какого нш будет запитываться руль?
Последовательно с распределителем или свой насос на рулевое?
В характеристиках пишут 5 литров, значит для Д50 нужен нш6.
10ки многовато будет, масло греется .
Отдельный нш 6 от штатного привода. Бак тоже отдельный.
Если ползать с куном потихоньку, то нормально. Если на повышенной , то нужно ловить.
Схождение колес правильно сделано?
Если перекручено то как раз будет мотать по дороге..
Я на на к-20в на 2х поворотных мостах 35км/ч гоняю идёт ровно.
ПС на т-25 у меня штатное рулевое с золотником газ66, его же насосом и цилиндром на мосту , кстати тоже дорогу плохо держит, надо регулировать сход.
Отдельный нш 6 от штатного привода. Бак тоже отдельный.
Если ползать с куном потихоньку, то нормально. Если на повышенной , то нужно ловить.
Схождение колес правильно сделано?
Если перекручено то как раз будет мотать по дороге..
Я на на к-20в на 2х поворотных мостах 35км/ч гоняю идёт ровно.
ПС на т-25 у меня штатное рулевое с золотником газ66, его же насосом и цилиндром на мосту , кстати тоже дорогу плохо держит, надо регулировать сход.
не поможет, я полностью восстанавливал рулевую, не было люфтов, делал сход, с золотником дорогу не дкржит, умахиваешься подруливать.
Мне до хутора 10 км ездить.
Пришлось переделать.
Если чисто по двору, вариант рабочий с газоновскими золотником, если по дороге, нах... такую схему.
Если перекручено то как раз будет мотать по дороге..<
Когда купил трактор, ехал ровно. Только руль не повернуть было. Когда поставил гидроцилиндр длину по наконечникам сделал, как было на тяге.
Отдельный нш 6 от штатного привода. Бак тоже отдельный.
Если ползать с куном потихоньку, то нормально. Если на повышенной , то нужно ловить.
Схождение колес правильно сделано?
Если перекручено то как раз будет мотать по дороге..
Я на на к-20в на 2х поворотных мостах 35км/ч гоняю идёт ровно.
ПС на т-25 у меня штатное рулевое с золотником газ66, его же насосом и цилиндром на мосту , кстати тоже дорогу плохо держит, надо регулировать сход.
не поможет, я полностью восстанавливал рулевую, не было люфтов, делал сход, с золотником дорогу не дкржит, умахиваешься подруливать.
Мне до хутора 10 км ездить.
Пришлось переделать.
Если чисто по двору, вариант рабочий с газоновскими золотником, если по дороге, нах... такую схему.
Это сообщение будет удалено автоматически 25-10-2025 в 16:26:57 Пожалуйста, не ставьте полезные ответы на автоудаление, это нарушает порядок обсуждения. Эта функция служит для удаления флуда и ошибок
Хз, я на УАЗ 3303 такую же схему сделал, золотник только не от газ 66 а от Волги, были такие, насос обычная как на уазах и гидроцилиндр на мост и на поперечную , дорогу держит , рыскает если в колею асфальтовую попал .
Сделал такой подогрев-вентиляцию. Вентилятор от пром электроники 24 в. Диаметр 200 мм вроде. Дует очень мощно. Dc-dc конвертер с Китая на повышение до 48 в. (Регулируется) . Для осени и весны самое то. Окна не потеют. И в кабине даже ставится жарко очень быстро. Снимается и ставится за 5-10 мин. Автономка в трактор мне не нужна. Хотя стоит в гараже .
Сделал такой подогрев-вентиляцию. Вентилятор от пром электроники 24 в. Диаметр 200 мм вроде. Дует очень мощно. Dc-dc конвертер с Китая на повышение до 48 в. (Регулируется) . Для осени и весны самое то. Окна не потеют. И в кабине даже ставится жарко очень быстро. Снимается и ставится за 5-10 мин. Автономка в трактор мне не нужна. Хотя стоит в гараже .
Это всё хорошо, но остаётся вопрос времени. Главное, чтобы не было запаха солярки и гари.
alexkov85 пишет:
Сделал такой подогрев-вентиляцию. Вентилятор от пром электроники 24 в. Диаметр 200 мм вроде. Дует очень мощно. Dc-dc конвертер с Китая на повышение до 48 в. (Регулируется) . Для осени и весны самое то. Окна не потеют. И в кабине даже ставится жарко очень быстро. Снимается и ставится за 5-10 мин. Автономка в трактор мне не нужна. Хотя стоит в гараже .
Это всё хорошо, но остаётся вопрос времени. Главное, чтобы не было запаха солярки и гари.
Я тоже подобное делал на самодельном с таким двигателем, было нормально, двигатель был совершенно чистый, даже гильцы немного ржавели...
Сделал такой подогрев-вентиляцию. Вентилятор от пром электроники 24 в. Диаметр 200 мм вроде. Дует очень мощно. Dc-dc конвертер с Китая на повышение до 48 в. (Регулируется) . Для осени и весны самое то. Окна не потеют. И в кабине даже ставится жарко очень быстро. Снимается и ставится за 5-10 мин. Автономка в трактор мне не нужна. Хотя стоит в гараже .
Это всё хорошо, но остаётся вопрос времени. Главное, чтобы не было запаха солярки и гари.
Этим всём не пахнет. В том году тннд потёк соляркой чуть -чуть пахло. На авито нашёл старый запас насосов от Смд60. Поставил его, сухой стоит. лето отработал норм.
Конечно, там не так сильно жарко. Вентилятор полностью алюминий. В пром. электронике охлаждение частотных преобразователей температура бывает и 90 гр...
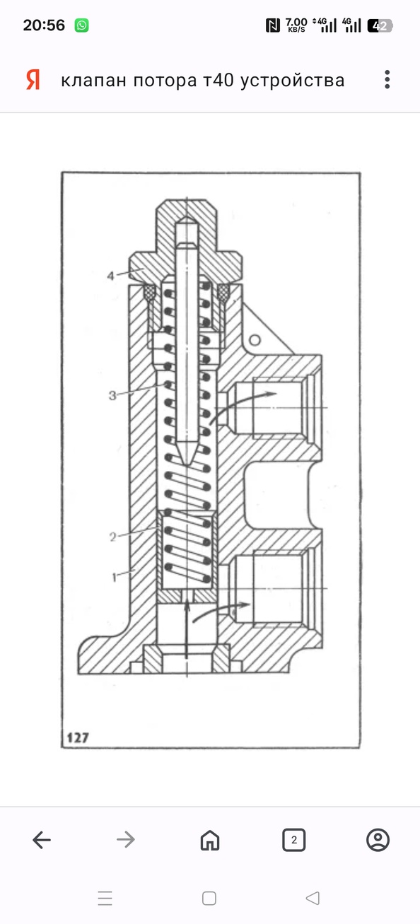
Всём здравствуйте! Сосед попросил посмотреть его рулевое на т40ам. Руль очень тугой. Навеска работает хорошо. Трактор поднимает. Есть у меня, манометр до 500 бар. Сварил штуцер. Подсоединили к рулевой колонке. Завели, крутим рулём. Давление 0.. Сняли клапан. Пружина длинна 115 мм. Решил его просверлить. Обычное сверло его не берёт. Хотел 4 мм. Пришлось победитом но диаметр был только 5.5-6 мм. Так же сделал шайбочки под пружину. Всё собрали. Завели. Руль стал как на иномарке. Давление доходит до 100 атм. Когда рулём не крутишь давление падает поэтически до 0. Может и 0. Но навеска стала очень плохо работать... Потом решил за место выхода с клапана на колонку подключить туда манометр. Завели. Давление насос выдал 300-350 атм. ))). Обратно снял клапан. Аккуратно заварил отверстие, сделал как и было примерно. Опять руль перестал работать. Навеска заработала. Как найти золотую середину? Думаю с Китая заказать пружину 15 на 300 мм. Толщина проволоки 2-2.5 мм. Длину подобрать опытным путём. Покупать насос 32-10. Выходит больно накладно. (Хочется как можно дешевле сделать). Нш10 через шкивы тоже не очень хочется. Или нш 10 в лобовину поставить? Трактор можно сказать в хорошем состоянии. 1000 МЧ. Про Гору- дозатор знаю. (Охото как можно дешевле).У меня, у самого на т-25 стоит. Руль мизинцем вращается.
Всём здравствуйте! Сосед попросил посмотреть его рулевое на т40ам. Руль очень тугой. Навеска работает хорошо. Трактор поднимает. Есть у меня, манометр до 500 бар. Сварил штуцер. Подсоединили к рулевой колонке. Завели, крутим рулём. Давление 0.. Сняли клапан. Пружина длинна 115 мм. Решил его просверлить. Обычное сверло его не берёт. Хотел 4 мм. Пришлось победитом но диаметр был только 5.5-6 мм. Так же сделал шайбочки под пружину. Всё собрали. Завели. Руль стал как на иномарке. Давление доходит до 100 атм. Когда рулём не крутишь давление падает поэтически до 0. Может и 0. Но навеска стала очень плохо работать... Потом решил за место выхода с клапана на колонку подключить туда манометр. Завели. Давление насос выдал 300-350 атм. ))). Обратно снял клапан. Аккуратно заварил отверстие, сделал как и было примерно. Опять руль перестал работать. Навеска заработала. Как найти золотую середину? Думаю с Китая заказать пружину 15 на 300 мм. Толщина проволоки 2-2.5 мм. Длину подобрать опытным путём. Покупать насос 32-10. Выходит больно накладно. (Хочется как можно дешевле сделать). Нш10 через шкивы тоже не очень хочется. Или нш 10 в лобовину поставить? Трактор можно сказать в хорошем состоянии. 1000 МЧ. Про Гору- дозатор знаю. (Охото как можно дешевле).У меня, у самого на т-25 стоит. Руль мизинцем вращается.
Всём здравствуйте! Сосед попросил посмотреть его рулевое на т40ам. Руль очень тугой. Навеска работает хорошо. Трактор поднимает. Есть у меня, манометр до 500 бар. Сварил штуцер. Подсоединили к рулевой колонке. Завели, крутим рулём. Давление 0.. Сняли клапан. Пружина длинна 115 мм. Решил его просверлить. Обычное сверло его не берёт. Хотел 4 мм. Пришлось победитом но диаметр был только 5.5-6 мм. Так же сделал шайбочки под пружину. Всё собрали. Завели. Руль стал как на иномарке. Давление доходит до 100 атм. Когда рулём не крутишь давление падает поэтически до 0. Может и 0. Но навеска стала очень плохо работать... Потом решил за место выхода с клапана на колонку подключить туда манометр. Завели. Давление насос выдал 300-350 атм. ))). Обратно снял клапан. Аккуратно заварил отверстие, сделал как и было примерно. Опять руль перестал работать. Навеска заработала. Как найти золотую середину? Думаю с Китая заказать пружину 15 на 300 мм. Толщина проволоки 2-2.5 мм. Длину подобрать опытным путём. Покупать насос 32-10. Выходит больно накладно. (Хочется как можно дешевле сделать). Нш10 через шкивы тоже не очень хочется. Или нш 10 в лобовину поставить? Трактор можно сказать в хорошем состоянии. 1000 МЧ. Про Гору- дозатор знаю. (Охото как можно дешевле).У меня, у самого на т-25 стоит. Руль мизинцем вращается.
Поставить новый клапан потока или второй насос
Новый клапан потока тоже может быть проблемный.
Самая оптимальное конечно же спарку поставить 32/10 она на озоне стоит примерно 11 тысяч ну не такие большие на самом деле деньги.
Это при том что проблема сразу отпадает и с навезкой и с рулевым , адекватно работает и рулевое и и навеска.
Всём здравствуйте! Сосед попросил посмотреть его рулевое на т40ам. Руль очень тугой. Навеска работает хорошо. Трактор поднимает. Есть у меня, манометр до 500 бар. Сварил штуцер. Подсоединили к рулевой колонке. Завели, крутим рулём. Давление 0.. Сняли клапан. Пружина длинна 115 мм. Решил его просверлить. Обычное сверло его не берёт. Хотел 4 мм. Пришлось победитом но диаметр был только 5.5-6 мм. Так же сделал шайбочки под пружину. Всё собрали. Завели. Руль стал как на иномарке. Давление доходит до 100 атм. Когда рулём не крутишь давление падает поэтически до 0. Может и 0. Но навеска стала очень плохо работать... Потом решил за место выхода с клапана на колонку подключить туда манометр. Завели. Давление насос выдал 300-350 атм. ))). Обратно снял клапан. Аккуратно заварил отверстие, сделал как и было примерно. Опять руль перестал работать. Навеска заработала. Как найти золотую середину? Думаю с Китая заказать пружину 15 на 300 мм. Толщина проволоки 2-2.5 мм. Длину подобрать опытным путём. Покупать насос 32-10. Выходит больно накладно. (Хочется как можно дешевле сделать). Нш10 через шкивы тоже не очень хочется. Или нш 10 в лобовину поставить? Трактор можно сказать в хорошем состоянии. 1000 МЧ. Про Гору- дозатор знаю. (Охото как можно дешевле).У меня, у самого на т-25 стоит. Руль мизинцем вращается.
Поставить новый клапан потока или второй насос
Новый клапан потока тоже может быть проблемный.
Самая оптимальное конечно же спарку поставить 32/10 она на озоне стоит примерно 11 тысяч ну не такие большие на самом деле деньги.
Это при том что проблема сразу отпадает и с навезкой и с рулевым , адекватно работает и рулевое и и навеска.
Цены смотрел. В разы бывает отличие. И 10 и 25. Самое дешёвое нашёл на авито с Крыма 8р. Был бы мой трактор купил бы не думаю. Сосед почти Пенсионер учитель думает. Трактор то так для души.
Всём здравствуйте! Сосед попросил посмотреть его рулевое на т40ам. Руль очень тугой. Навеска работает хорошо. Трактор поднимает. Есть у меня, манометр до 500 бар. Сварил штуцер. Подсоединили к рулевой колонке. Завели, крутим рулём. Давление 0.. Сняли клапан. Пружина длинна 115 мм. Решил его просверлить. Обычное сверло его не берёт. Хотел 4 мм. Пришлось победитом но диаметр был только 5.5-6 мм. Так же сделал шайбочки под пружину. Всё собрали. Завели. Руль стал как на иномарке. Давление доходит до 100 атм. Когда рулём не крутишь давление падает поэтически до 0. Может и 0. Но навеска стала очень плохо работать... Потом решил за место выхода с клапана на колонку подключить туда манометр. Завели. Давление насос выдал 300-350 атм. ))). Обратно снял клапан. Аккуратно заварил отверстие, сделал как и было примерно. Опять руль перестал работать. Навеска заработала. Как найти золотую середину? Думаю с Китая заказать пружину 15 на 300 мм. Толщина проволоки 2-2.5 мм. Длину подобрать опытным путём. Покупать насос 32-10. Выходит больно накладно. (Хочется как можно дешевле сделать). Нш10 через шкивы тоже не очень хочется. Или нш 10 в лобовину поставить? Трактор можно сказать в хорошем состоянии. 1000 МЧ. Про Гору- дозатор знаю. (Охото как можно дешевле).У меня, у самого на т-25 стоит. Руль мизинцем вращается.
Самая оптимальное конечно же спарку поставить 32/10 она на озоне стоит примерно 11 тысяч ну не такие большие на самом деле деньги.
Это при том что проблема сразу отпадает и с навезкой и с рулевым , адекватно работает и рулевое и и навеска.
Цены смотрел. В разы бывает отличие. И 10 и 25. Самое дешёвое нашёл на авито с Крыма 8р. Был бы мой трактор купил бы не думаю. Сосед почти Пенсионер учитель думает. Трактор то так для души.
Насколько я знаю клапан потока можно настроить но это очень кропотливый скажем так труд там как бы основной фактор это жёсткость вот этой вот пружины то есть на штатном всём ну на штатном всём этом деле просто подкладываются шайбы вот и регулируется на самом деле жёсткость пружины.
Извините я коряво пишу это наговариваю словами.
Всём здравствуйте! Сосед попросил посмотреть его рулевое на т40ам. Руль очень тугой. Навеска работает хорошо. Трактор поднимает. Есть у меня, манометр до 500 бар. Сварил штуцер. Подсоединили к рулевой колонке. Завели, крутим рулём. Давление 0.. Сняли клапан. Пружина длинна 115 мм. Решил его просверлить. Обычное сверло его не берёт. Хотел 4 мм. Пришлось победитом но диаметр был только 5.5-6 мм. Так же сделал шайбочки под пружину. Всё собрали. Завели. Руль стал как на иномарке. Давление доходит до 100 атм. Когда рулём не крутишь давление падает поэтически до 0. Может и 0. Но навеска стала очень плохо работать... Потом решил за место выхода с клапана на колонку подключить туда манометр. Завели. Давление насос выдал 300-350 атм. ))). Обратно снял клапан. Аккуратно заварил отверстие, сделал как и было примерно. Опять руль перестал работать. Навеска заработала. Как найти золотую середину? Думаю с Китая заказать пружину 15 на 300 мм. Толщина проволоки 2-2.5 мм. Длину подобрать опытным путём. Покупать насос 32-10. Выходит больно накладно. (Хочется как можно дешевле сделать). Нш10 через шкивы тоже не очень хочется. Или нш 10 в лобовину поставить? Трактор можно сказать в хорошем состоянии. 1000 МЧ. Про Гору- дозатор знаю. (Охото как можно дешевле).У меня, у самого на т-25 стоит. Руль мизинцем вращается.
Самая оптимальное конечно же спарку поставить 32/10 она на озоне стоит примерно 11 тысяч ну не такие большие на самом деле деньги.
Это при том что проблема сразу отпадает и с навезкой и с рулевым , адекватно работает и рулевое и и навеска.
Цены смотрел. В разы бывает отличие. И 10 и 25. Самое дешёвое нашёл на авито с Крыма 8р. Был бы мой трактор купил бы не думаю. Сосед почти Пенсионер учитель думает. Трактор то так для души.
Насколько я знаю клапан потока можно настроить но это очень кропотливый скажем так труд там как бы основной фактор это жёсткость вот этой вот пружины то есть на штатном всём ну на штатном всём этом деле просто подкладываются шайбы вот и регулируется на самом деле жёсткость пружины.
Извините я коряво пишу это наговариваю словами.
Вот хочу с Китая пружину попробовать заказать. Но ждать месяц. Там очень много всяких разных размеров. Основной это толщина -ширина-диаметр 15 мм.
Всём здравствуйте! Сосед попросил посмотреть его рулевое на т40ам. Руль очень тугой. Навеска работает хорошо. Трактор поднимает. Есть у меня, манометр до 500 бар. Сварил штуцер. Подсоединили к рулевой колонке. Завели, крутим рулём. Давление 0.. Сняли клапан. Пружина длинна 115 мм. Решил его просверлить. Обычное сверло его не берёт. Хотел 4 мм. Пришлось победитом но диаметр был только 5.5-6 мм. Так же сделал шайбочки под пружину. Всё собрали. Завели. Руль стал как на иномарке. Давление доходит до 100 атм. Когда рулём не крутишь давление падает поэтически до 0. Может и 0. Но навеска стала очень плохо работать... Потом решил за место выхода с клапана на колонку подключить туда манометр. Завели. Давление насос выдал 300-350 атм. ))). Обратно снял клапан. Аккуратно заварил отверстие, сделал как и было примерно. Опять руль перестал работать. Навеска заработала. Как найти золотую середину? Думаю с Китая заказать пружину 15 на 300 мм. Толщина проволоки 2-2.5 мм. Длину подобрать опытным путём. Покупать насос 32-10. Выходит больно накладно. (Хочется как можно дешевле сделать). Нш10 через шкивы тоже не очень хочется. Или нш 10 в лобовину поставить? Трактор можно сказать в хорошем состоянии. 1000 МЧ. Про Гору- дозатор знаю. (Охото как можно дешевле).У меня, у самого на т-25 стоит. Руль мизинцем вращается.
Цены смотрел. В разы бывает отличие. И 10 и 25. Самое дешёвое нашёл на авито с Крыма 8р. Был бы мой трактор купил бы не думаю. Сосед почти Пенсионер учитель думает. Трактор то так для души.
Насколько я знаю клапан потока можно настроить но это очень кропотливый скажем так труд там как бы основной фактор это жёсткость вот этой вот пружины то есть на штатном всём ну на штатном всём этом деле просто подкладываются шайбы вот и регулируется на самом деле жёсткость пружины.
Извините я коряво пишу это наговариваю словами.
Вот хочу с Китая пружину попробовать заказать. Но ждать месяц. Там очень много всяких разных размеров. Основной это толщина -ширина-диаметр 15 мм.
Попробуй шайбы под кладывать, подбирать по толщине, если не поможет, то и пружину заказывать нет смысла
Всём спасибо. Надо ещё тему изучить куда можно нш-10 второй насос поставить. Чтоб компактно было. Лежат 5 шт.
Приветствую.
Под насос кронштейн с корпусом подшипников,шкив на КВ , все это тоже время и деньги .
Для начала попробовать порегулировать клапан потока, и если есть другой 32 насос поменять его .
Всём спасибо. Надо ещё тему изучить куда можно нш-10 второй насос поставить. Чтоб компактно было. Лежат 5 шт.
Приветствую.
Под насос кронштейн с корпусом подшипников,шкив на КВ , все это тоже время и деньги .
Для начала попробовать порегулировать клапан потока, и если есть другой 32 насос поменять его .
Видел фото нш10 ставят под 32 снизу. Как понял где заливная горловина? Родной 32 давит хорошо. Когда на него манометр подключил.. 300-350 бар он выдал.. Мотор под нагрузкой работал.. Обороты не развивал. Ладно хоть не порвало ни чего... Секунд 10 работал
На юмза экса ,по совету с Форума , поставил шайбы с маленькими дырочками на гидроцилиндры поворота. Стрела стала поворачивать помедленней. С рулевым гидроцилиндром прокатит такой финт? Или дозатор испортиться?
На озоне есть дозатор на 50.
Приветствую.
С рулевым не прокатит.
А какая схема, тоесть от какого нш будет запитываться руль?
Последовательно с распределителем или свой насос на рулевое?
В характеристиках пишут 5 литров, значит для Д50 нужен нш6.
10ки многовато будет, масло греется .
Отдельный нш 6 от штатного привода. Бак тоже отдельный.
Если ползать с куном потихоньку, то нормально. Если на повышенной , то нужно ловить.
Схождение колес правильно сделано?
Если перекручено то как раз будет мотать по дороге..
Я на на к-20в на 2х поворотных мостах 35км/ч гоняю идёт ровно.
ПС на т-25 у меня штатное рулевое с золотником газ66, его же насосом и цилиндром на мосту , кстати тоже дорогу плохо держит, надо регулировать сход.
не поможет, я полностью восстанавливал рулевую, не было люфтов, делал сход, с золотником дорогу не дкржит, умахиваешься подруливать.
Мне до хутора 10 км ездить.
Пришлось переделать.
Если чисто по двору, вариант рабочий с газоновскими золотником, если по дороге, нах... такую схему.
Схождение колес правильно сделано?
Если перекручено то как раз будет мотать по дороге..<
Когда купил трактор, ехал ровно. Только руль не повернуть было. Когда поставил гидроцилиндр длину по наконечникам сделал, как было на тяге.
Грузы мтз на колеса т25 двадцать восьмые кто приделывал?
Хз, я на УАЗ 3303 такую же схему сделал, золотник только не от газ 66 а от Волги, были такие, насос обычная как на уазах и гидроцилиндр на мост и на поперечную , дорогу держит , рыскает если в колею асфальтовую попал .
Сделал такой подогрев-вентиляцию. Вентилятор от пром электроники 24 в. Диаметр 200 мм вроде. Дует очень мощно. Dc-dc конвертер с Китая на повышение до 48 в. (Регулируется) . Для осени и весны самое то. Окна не потеют. И в кабине даже ставится жарко очень быстро. Снимается и ставится за 5-10 мин. Автономка в трактор мне не нужна. Хотя стоит в гараже .
Это всё хорошо, но остаётся вопрос времени. Главное, чтобы не было запаха солярки и гари.
Я тоже подобное делал на самодельном с таким двигателем, было нормально, двигатель был совершенно чистый, даже гильцы немного ржавели...
Этим всём не пахнет. В том году тннд потёк соляркой чуть -чуть пахло. На авито нашёл старый запас насосов от Смд60. Поставил его, сухой стоит. лето отработал норм.
А температура там для него терпимая?
Конечно, там не так сильно жарко. Вентилятор полностью алюминий. В пром. электронике охлаждение частотных преобразователей температура бывает и 90 гр...
Парни всем здоровья. Может кто ставил МТЗовские уплотнители стёкол (без клина) на Т 25?
Там размер под стекло в рамке меньше вроде бы
Безклиновые резинки идут в накладку стекла на рамку. А родные в стык. Если переделать рамки то можно и такие резинки использовать.
Понял,спасибо!
Всём здравствуйте! Сосед попросил посмотреть его рулевое на т40ам. Руль очень тугой. Навеска работает хорошо. Трактор поднимает. Есть у меня, манометр до 500 бар. Сварил штуцер. Подсоединили к рулевой колонке. Завели, крутим рулём. Давление 0.. Сняли клапан. Пружина длинна 115 мм. Решил его просверлить. Обычное сверло его не берёт. Хотел 4 мм. Пришлось победитом но диаметр был только 5.5-6 мм. Так же сделал шайбочки под пружину. Всё собрали. Завели. Руль стал как на иномарке. Давление доходит до 100 атм. Когда рулём не крутишь давление падает поэтически до 0. Может и 0. Но навеска стала очень плохо работать... Потом решил за место выхода с клапана на колонку подключить туда манометр. Завели. Давление насос выдал 300-350 атм. ))). Обратно снял клапан. Аккуратно заварил отверстие, сделал как и было примерно. Опять руль перестал работать. Навеска заработала. Как найти золотую середину? Думаю с Китая заказать пружину 15 на 300 мм. Толщина проволоки 2-2.5 мм. Длину подобрать опытным путём. Покупать насос 32-10. Выходит больно накладно. (Хочется как можно дешевле сделать). Нш10 через шкивы тоже не очень хочется. Или нш 10 в лобовину поставить? Трактор можно сказать в хорошем состоянии. 1000 МЧ. Про Гору- дозатор знаю. (Охото как можно дешевле).У меня, у самого на т-25 стоит. Руль мизинцем вращается.
Почему? Так наверно дешевле выйдет...
Поставить новый клапан потока или второй насос
Новый клапан потока тоже может быть проблемный.
Самая оптимальное конечно же спарку поставить 32/10 она на озоне стоит примерно 11 тысяч ну не такие большие на самом деле деньги.
Это при том что проблема сразу отпадает и с навезкой и с рулевым , адекватно работает и рулевое и и навеска.
Цены смотрел. В разы бывает отличие. И 10 и 25. Самое дешёвое нашёл на авито с Крыма 8р. Был бы мой трактор купил бы не думаю. Сосед почти Пенсионер учитель думает. Трактор то так для души.
Насколько я знаю клапан потока можно настроить но это очень кропотливый скажем так труд там как бы основной фактор это жёсткость вот этой вот пружины то есть на штатном всём ну на штатном всём этом деле просто подкладываются шайбы вот и регулируется на самом деле жёсткость пружины.
Извините я коряво пишу это наговариваю словами.
Вот хочу с Китая пружину попробовать заказать. Но ждать месяц. Там очень много всяких разных размеров. Основной это толщина -ширина-диаметр 15 мм.
Дак и клапан потока не дорогой. Как я ответил в другой теме, его замена мне помогла (если сам ГУР не ушатан).
Попробуй шайбы под кладывать, подбирать по толщине, если не поможет, то и пружину заказывать нет смысла
Всём спасибо. Надо ещё тему изучить куда можно нш-10 второй насос поставить. Чтоб компактно было. Лежат 5 шт.
Приветствую.
Под насос кронштейн с корпусом подшипников,шкив на КВ , все это тоже время и деньги .
Для начала попробовать порегулировать клапан потока, и если есть другой 32 насос поменять его .
Видел фото нш10 ставят под 32 снизу. Как понял где заливная горловина? Родной 32 давит хорошо. Когда на него манометр подключил.. 300-350 бар он выдал.. Мотор под нагрузкой работал.. Обороты не развивал. Ладно хоть не порвало ни чего... Секунд 10 работал