ДТ-20. Удлинитель домкрата не попадался на глаза. Просто использую для этих целей монтажку или металлический пруток.
Удлинитель домкрата это не лост для поворачивания винта домкрата. Удлинитель домкрата надевается на торце винтовой стержень для удлинение высота самого домкрата. Впервые надо разобрать вилка домкрата, затем поставить удлинитель на винта, а потом ввернут вилка. Удлинитель используется для перестройки высота трактора от высокая к низкая модификация и обратно. Смотрите как он выглядит.
ДТ-20. По насосам толкового ничего подсказать не могу. Пара таких насосов имеется, но они изготовлены в начале 80-х г.
насос поздний.
Но какой у тебя долен быть тоже вопрос.
ранние имели нижню площадку литую.
потом шли насосы у которыз нижняя площадка навинчивалась на трубу как и верхшяя крышка.
затем пошли насосы с клеймом на крышке "АН"
Никита777 пишет:
В более поздних его уже нет.
вороток домкрата интересный, заводской для УАЗ ГАЗ, просто палка с клеймом, я делал с заводной рукоятки себе.
по чертежу вымерял и вырезал кусок с клеймом.
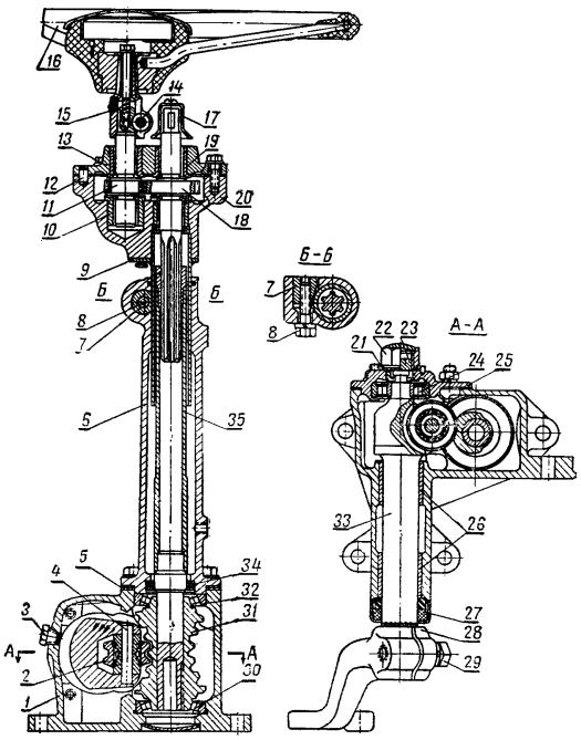
Подскажите, есть ли у кого клин рулевой колонки или хотя бы эскиз кто сможет накидать?
Есть разбор тракторов в Каралы Челябинской области, там лежал дт 20 разобранный. Я забрал движок, а остальное осталось и рулевая колонка лежало, я её не рассматривал. Вот его номер +7 951 246-95-33, можете позвонить спросить. Зовут его Роман
Удлинитель домкрата это не лост для поворачивания винта домкрата. Удлинитель домкрата надевается на торце винтовой стержень для удлинение высота самого домкрата. Впервые надо разобрать вилка домкрата, затем поставить удлинитель на винта, а потом ввернут вилка. Удлинитель используется для перестройки высота трактора от высокая к низкая модификация и обратно. Смотрите как он выглядит.
Понятно. Подобный рисунок нашёл только в руководстве ранних изданий 1958 г. 1960. В более поздних его уже нет. Я пользуюсь руководством 1969 г.
Удлинитель.
Интересное приспособление, но выглядит не очень устойчиво.
Да, мне тоже кажется неустойчиво, но так его сделали, надо было работать.
ДТ-20. По насосам толкового ничего подсказать не могу. Пара таких насосов имеется, но они изготовлены в начале 80-х г.
Сегодня позанимался трактором, собирал рулевое, поставил сальники вместо родных уплотнений
Токарь выточил втулки вместо родных, руль стал меньше болтаться
А размер сальников какой?
ДТ-20. Тоже немного позанимался трактором. Установил родной сигнал и включатель к нему на рулевую колонку.
ДТ-20
ДТ-20. Включатель ВК-34
Я поставил 33*20, 3 штуки, на проходном валу конечно чуть больше диаметр в нижней части, но ничего, зашёл
И ещё поставил сальник в самый низ трубы, тоже вместо уплотнения
насос поздний.
Но какой у тебя долен быть тоже вопрос.
ранние имели нижню площадку литую.
потом шли насосы у которыз нижняя площадка навинчивалась на трубу как и верхшяя крышка.
затем пошли насосы с клеймом на крышке "АН"
вороток домкрата интересный, заводской для УАЗ ГАЗ, просто палка с клеймом, я делал с заводной рукоятки себе.
по чертежу вымерял и вырезал кусок с клеймом.
Вот ДТ-14 с баласты к передним колесом.
Колоритное фото
Спасибо!
Никто случаем не знает где можно родные задние шины найти? Модель О-2
Под эти шины (8-32) нужны диски с узкими ободами. Раньше такие колёса на сеялки ставили.
ДТ-20. Ещё могли ставиться шины размером 9-32. Тот ещё раритет. У меня одна такая стоит на тракторе.
ДТ-20 "" Справочник по трактору ДТ-20" 1969 г.
Вася, прокомментируйте пожалуйста последнюю фотографию.
Механизм опрокидывания кузова, место крепления дышла прицепа к раме
Подскажите, есть ли у кого клин рулевой колонки или хотя бы эскиз кто сможет накидать?
Вася, вас интересует клин оси качания?
Нет, позиции 7 и 8
Клин для фиксации верхнего редуктора на рулевой колонке
Я могу через день два фотографирую, у меня есть такой клин.
Есть разбор тракторов в Каралы Челябинской области, там лежал дт 20 разобранный. Я забрал движок, а остальное осталось и рулевая колонка лежало, я её не рассматривал. Вот его номер +7 951 246-95-33, можете позвонить спросить. Зовут его Роман